浙海德曼披露一季报,公司2026年一季度实现营业收入2.09亿元,同比增长47.25%;归母净利润1656.53万元,同比增长680.22%。本期营收增长主要系公司订单增加合肥股票配资,交付能力提升。
举报 第一财经广告合作,请点击这里此内容为第一财经原创,著作权归第一财经所有。未经第一财经书面授权,不得以任何方式加以使用,包括转载、摘编、复制或建立镜像。第一财经保留追究侵权者法律责任的权利。如需获得授权请联系第一财经版权部:banquan@yicai.com 相关阅读

壹评级:国瓷材料盈利短期受减值扰动,新业务蓄势待发
壹评级:国瓷材料盈利短期受减值扰动,新业务蓄势待发
57 04-21 09:43

国产光纤全球爆单 部分产品价格暴涨650%
国产光纤全球爆单 部分产品价格暴涨650%
297 04-18 22:53

主力今日尾盘买卖这些个股
主力今日尾盘买卖这些个股
2025-12-29 15:55

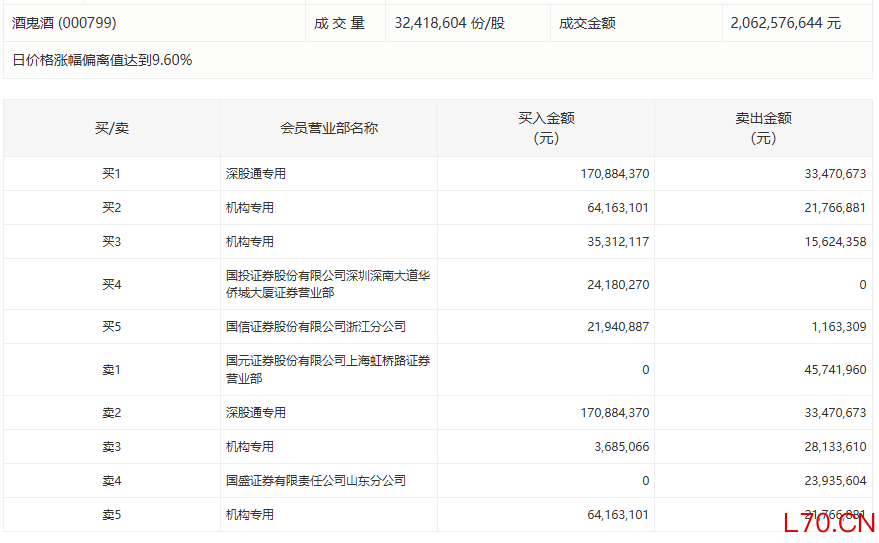
酒鬼酒今日涨停,2家机构专用席位净买入6208.40万元
酒鬼酒今日涨停,2家机构专用席位净买入6208.40万元
元股证券:ygzq.hk配资网站 2025-11-10 17:07

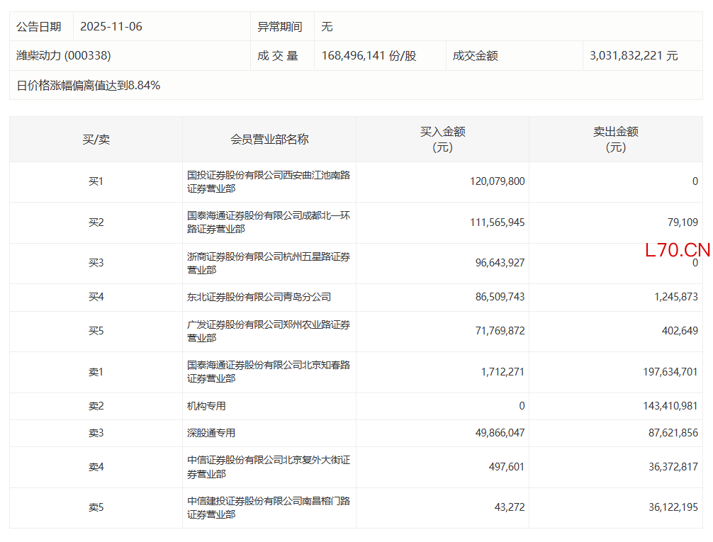
潍柴动力今日涨停合肥股票配资,有1家机构专用席位净卖出1.43亿元
潍柴动力今日涨停,有1家机构专用席位净卖出1.43亿元

2025-11-06 16:28 一财最热 点击关闭
配资证券公司排行榜提示:本文来自互联网,不代表本网站观点。